
很多实干家们都清楚,挖机施工最常用的就是挖斗,但是要想做工程还是要买个破碎锤才能赚的更多。
但是使用破碎锤应该如何保养呢?今天小易就和大家说说关于破碎锤保养的哪些事。
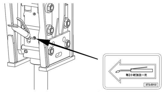
破碎锤日常保养
每2小时
1.对钎杆和钎杆衬套进行润滑脂处理
每50小时
-
拆下衬套销,钎杆、钎杆衬套,检查磨损情况。
-
检查液压软管,如果出现损坏则需更换。不得让污物进入破碎锤或软管。
-
检查外壳连接螺栓,顶盖螺栓的松紧度。必要时进行更换或重新上紧。
-
检查上缸体、蓄能器中的气体压力,必要时进行更换。
-
检查液压油的情况,必要时更换或加注。
每100小时
-
检查液压管路和进油/回油软管所有的连接。
-
检查工作压力和工作流量设置值,必要时进行调整。
-
检查液压系统从主机上的溢流压力。
每600小时
对破碎锤和主机进行定期的外部检查(裂纹、松紧度、漏油、等等)检查动力单元、外壳、托架的每个部件。更换所有的密封,包括蓄能器中的皮碗。检查侧杆螺栓螺纹上的裂纹。
检查所有的液压连接。更换并检查主机上的液压油过滤器。破碎锤液压油选择※ 在连续使用破碎锤的情况下,液压油的温度应维持在特定的范围,这取决于施工条件和车辆情况。在 此温度下,液压油的粘度应为20~40 cSt. (2.90~5.35?E)。
※ 液压破碎锤一定不能在液压油粘度高于1000cSt(131?E)时启动,或当液压油粘度低于15cSt(2.35?E) 时进行操作。破
※ 破碎锤钎杆和衬套中应定期加入耐水润滑脂,以防止经济损失。如果钎杆在工作前未进行润滑脂处理,就会造成钎杆衬套的加速磨损和钎杆的损坏或断裂。
※ 检查润滑脂配件是否损坏或丢失,必要时进行更换。

