在2020年全+服务的战略指引下,陕汽贴心服务用真诚的服务态度传递爱心,用精湛过硬的技术诠释着对用户的关爱,让用户体会到我们的责任和担当,对我们的产品和服务更加热爱,更加信赖。

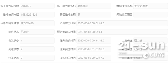
近日,陕汽客服接到用户寇先生来电,情绪十分的激动:“陕汽服务真是好,太感谢你们了!”原来在5月5日凌晨12点01分寇先生致电4008809818陕汽贴心服务热线报修车辆打不着车,陕汽服务站接到派工指令后,第一时间联系客户,沟通过程中服务站和用户核实了有效信息,因用户车辆所处位置在市区位置,陕汽服务站立刻安排外出赶往现场。

经检查初步认定一块电瓶不存电,维修人员王师傅马上联系站内库房确定库存,并且现场又对车辆进行启动处理。随后王师傅又对车辆全车的线路电器等元素进行进一步的检查,最终确认电瓶原因导致。王师傅陪同用户一起进站对电瓶进行更换,并进行全车线路检查。

寇先生非常感动的说:“这两位师傅维修技术过硬,服务态度又好,而且了解到我晚上没有吃饭,还给我带了方便面和水,陕汽贴心服务真的是对用户贴心周到,以后我还买陕汽车!”

陕汽贴心服务团队向每一个客户提供优质、高效的服务,陕汽贴心服务理念为用户诠释服务的真谛,以微笑表达情感,让客户深切的体会到贴心与温暖,绽放出满意的微笑,在贴心服务的道路上,一路相伴前行。(本文来自陕汽重卡)

